三度注ぎが全自動に!? ~サッポロビールが特許出願中~
グラスのフチからこんもりと盛り上がった、きめ細やかなスフレ状の泡。
柔らかな口当たり。
爽やかな香りと、まろやかな甘み。
そして、飲み終えたグラスに残る、美しいレーシング模様。
いやー、正しく注がれたビールって、やっぱりおいしいですね。
同じ銘柄のビールであっても、注ぎ方によって味は大きく変わります。もちろん、正しく注げばどの注ぎ方でも非常においしいのですが(関連記事)、私の好みは、なんといっても三度注ぎ。

缶からグラスに三度注ぎしたヱビス プレミアムエール
お店で飲む樽生ビールはもちろんのこと、飲み慣れているはずの大手メーカーの缶ビールでも、以下のような手順を踏んで三度注ぎしてみると、味の違いに驚かされます。
|
1.グラスを立てたまま、ビールを勢いよく注いで泡を立て、泡がグラスの高さの半分くらいを占めるようにする 2.粗い泡がはじけて減ってきたら、残った細かい泡を持ち上げるように再びビールを注ぎ、グラスをいっぱいにする 3.再度、粗い泡がなくなるまで待った後、そっとビールを足して、きめ細やかな泡をグラスのフチより上まで盛り上げる (参考文献:端田晶『美味いビールは三度注ぎ!』ジョルダン、2011年) |
しかし三度注ぎの難点は、注ぐのに若干の手間と時間がかかること。待ちきれず、二度目を注いだところでついつい飲んでしまうことも。また逆に、待っている間に一品、と思っておつまみを作っていたら、グラスを放っておきすぎて、泡がすっかりなくなってしまうという悲劇に見舞われたこともあります。
「おつまみができあがるタイミングにあわせて、自動的に三度注ぎビールが完成していればいいのに……」
そんな私の妄想を、ひょっとすると将来的に叶えてくれるかもしれないサーバーのアイデアが、サッポロビールから特許出願されていることが判明しました!

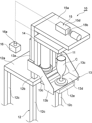
サッポロビールが出願した特許。三度注ぎのビールの模式図も描かれている
2019年6月27日に公開された「特開2019-104515」に記載されているのは、全自動で三度注ぎを行うサーバー(もう少し厳密にいえば、自動で複数回に分けて注ぐサーバー)です。
ビアガーデンなどによくある自動のサーバーは、ジョッキを傾けて泡の出方を調節しながらビールを注いでくれますが、今回出願されたサーバーは、グラスを立てたまま、注ぐ高さを変えることで泡の出方を調節します。グラスを載せるステージ(以下に引用する図面中、13d)が昇降することで、注ぎ口(図中11)からの高さが変わる仕組みです。
また、泡の高さをセンサー(図中14)で検出し、泡が減ってきたら2回目や3回目を注ぐようになっています。
使用者が行うことは、グラス(図中C)をステージに置いて、スタートボタン(図中16a)を押すだけ。実に簡単です。
特許に記載されているサーバーの図面(引用元:特開2019-104515、サッポロビール株式会社)
まだ出願公開の段階であり、現時点では出願審査請求もされていませんので(期限は2020年12月)、今後、本当に権利化や実用化がされるかは分かりません。
しかし、実用化され飲食店に導入されれば、特別な訓練を要さず、例えば新人アルバイト店員でも正しく注がれた三度注ぎのビールを提供できるようになります。
また、従来のサーバーでは液の注ぎ口と泡の注ぎ口が別になっていましたが、この方式では泡の注ぎ口は不要であり、液の注ぎ口だけあればいいことになりますので、ライン(ビールの通り道)の構成がシンプルになり、洗浄・管理も楽になります。
つまり、人手不足の飲食店でも、おいしい三度注ぎビールを手軽にお客様に味わってもらえるわけです。

正しく三度注ぎされた樽生のエーデルピルス。これが、どこの飲食店でも気軽に飲めるようになると嬉しいですね!
さらには、もしも家庭用の全自動三度注ぎサーバーが実用化されれば、前述した私の妄想が具現化することになります。
キリンビールは既に、家庭用のビールサーバー「キリンホームタップ」の展開を始めています。三度注ぎサーバーが家庭に普及するという妄想も、ただの夢物語では終わらないかもしれません。
また、機械好きの方なら、自動でビールが注がれる様子を見るだけでも十分楽しめることでしょう。私自身も、このサーバーを目の前にしたら、動作を眺めながら何杯か飲んでしまいそうだと思っています。
全自動三度注ぎサーバー。実用化がとても楽しみな発明です。
今後の開発の進展に期待しています。
|
<特許出願の概要> 発明の名称:飲料サーバー及び注出方法 出願人:サッポロビール株式会社 特許出願公開番号:特開2019-104515 出願日:2017年12月12日 公開日:2019年6月27日 |
※記事に掲載されている内容は取材当時の最新情報です。情報は取材先の都合で、予告なしに変更される場合がありますのでくれぐれも最新情報をご確認いただきますようお願い申し上げます。










